In a static liquid (a body of liquid at rest) the pressure difference between any two points is in direct proportion only to the vertical distance between the points.

This pressure difference is due to the weight of the liquid and can be calculated by multiplying the vertical distance by the density (or vertical distance x density of water x specific gravity of the fluid). In commonly used units:
P static (in PSI) Z (in feet) x 62 4 lbs./cu. ft. x SG
PUMP HEAD – PRESSURE – SPECIFIC GRAVITY – in a centrifugal pump the head developed (in feet) is dependent on the velocity of the liquid as it enters the impeller eye and as it leaves the impeller periphery and, therefore, is independent of the specific gravity of the liquid. The pressure head developed (in psi) will be directly proportional to the specific gravity.

Pressure-Head relationship of identical pumps handling liquids of differing specific gravities.

Pressure-head relationship of pumps delivering same pressure handling liquids of differing specific gravity.
This relationship, the elevation equivalent of pressure, is commonly called head and is still frequently used. Pressure converted to the equivalent height of fluid that would produce that pressure can be referred to as head.
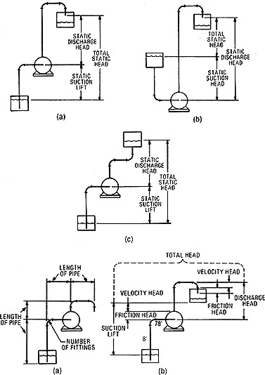
| Static Head | · The hydraulic pressure at a point in a fluid when the liquid is at rest. |
| Friction Head | · The loss in pressure or energy due to frictional losses in flow. |
| Velocity Head | · The energy in a fluid due to its velocity, expressed as a head unit. |
| Pressure Head | · A pressure measured in equivalent head units. |
| Discharge Head | · The outlet pressure of a pump in operation. |
| Total Head | · The total pressure difference between the inlet and outlet of a pump in operation. |
| Suction Head | · The inlet pressure of a pump when above atmospheric. |
| Suction Lift | · The inlet pressure of a pump when below atmospheric. |

FRICTIONAL LOSSES
The nature of frictional losses in a pumping system can be very complex. Losses in the pump itself are determined by actual test, and are allowed for in the manufacturers curves and data. Similarly, manufacturers of processing equipment, heat exchangers, static mixers etc. usually have data available for friction losses.
Frictional losses due to flow in pipes are directly proportional to the:
- length of pipe
- flow rate
- pipe diameter
- viscosity of fluid
Pipe friction tables have been established by the Hydraulic Institute and many other sources which can be used to compute the friction loss in a system for given flow rates, viscosities and pipe sizes.
Tables of equivalent lengths for fittings and valves are also available. See next page in this manual.
NPSH
Fluid will only flow into the pump head by atmospheric pressure or atmospheric pressure plus a positive suction head. If suction pressure at suction pipe is below the vapor pressure of the fluid, the fluid may flash into a vapor. A centrifugal pump cannot pump only vapor. If this happens, fluid flow to the pump head will drop off and cavitation may result.
NET POSITIVE SUCTION HEAD, AVAILABLE (NPSHA) is based on the design of the system around the pump inlet. The average pressure (in psia) is measured at the inlet port during operation, minus the vapor pressure of the liquid at operating temperature. It indicates the amount of useful pressure
energy available to fill the pump head.
NET POSITIVE SUCTION HEAD, REQUIRED (NPSHR) is based on pump design. This is determined by test of the pump of what pressure energy (in psia) is needed to fill the pump inlet. It is a characteristic which varies primarily with the pump speed and the viscosity of the fluid.
For satisfactory pump operation under any set of conditions (capacity versus head) the NPSH, available, must be greater than the NPSH, required. Generally, a two foot head safety margin is normally used.